登录日志
功能简介
登录日志记录的是企业成员的登录情况。
注:
- 公有云登录日志仅保留最近 6 个月的日志。
- 私有云登录日志保存时效可自行设置。
- 成员切换团队也会记录登录日志。
- 系统管理员可以查看到团队所有成员的登录日志,成员只能查看到自己的登录日志。
入口
点击头像>>企业管理>>登录日志

日志查询
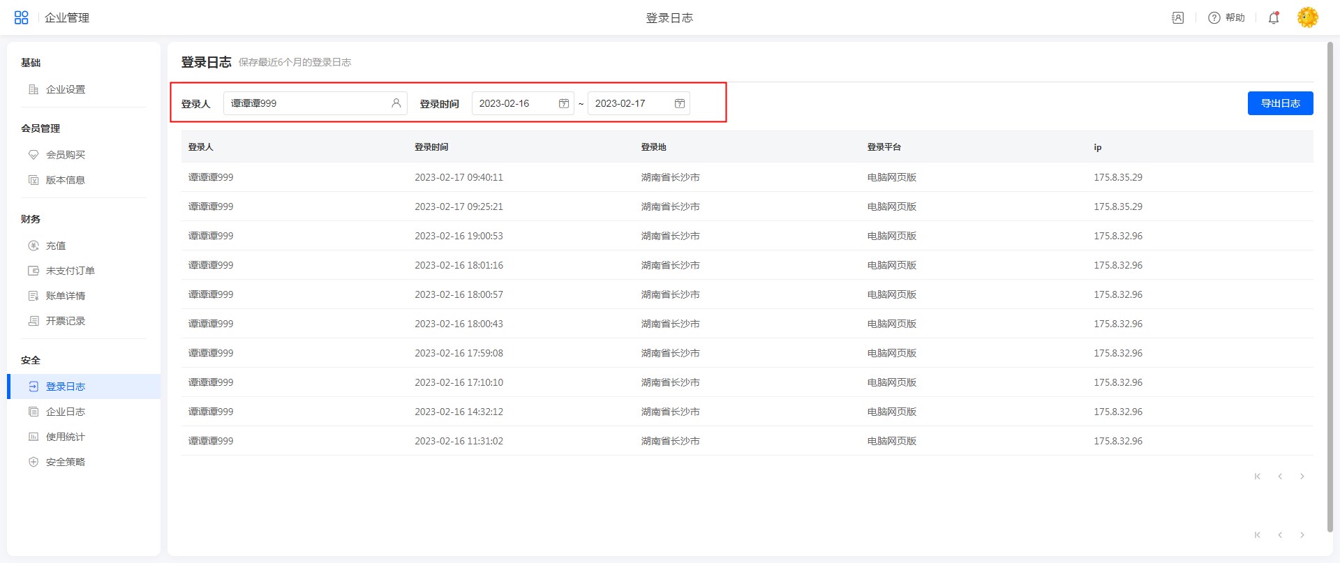
登录日志中记录了登录人、登录时间、登录地、登录平台以及登录的 IP 地址。
| 登录平台包含 |
|---|
| 电脑网页版 |
| 手机网页版 |
| 微信手机版 |
| 微信电脑版 |
| 小程序手机版 |
| 小程序电脑版 |
| 企业微信手机版 |
| 企业微信电脑版 |
| 钉钉手机版 |
| 钉钉电脑版 |
| 飞书手机版 |
| 飞书电脑版 |
登录日志可以根据登录人和登录时间来查询。如下图所示:

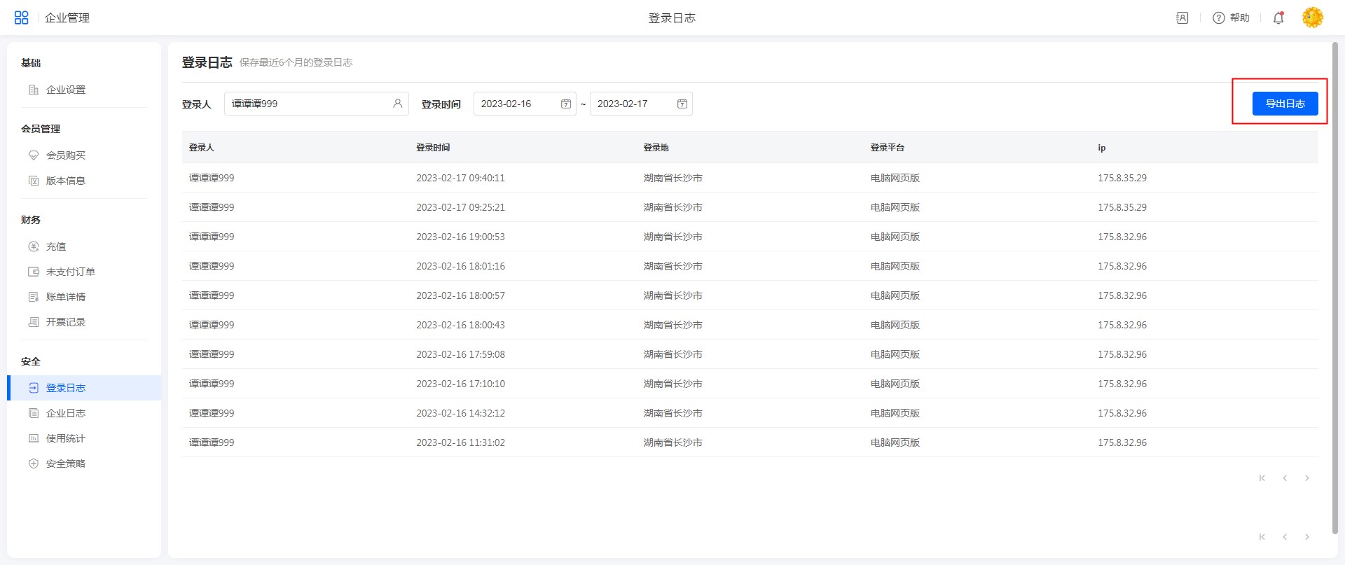
日志导出
可以将筛选出的日志导出进行本地存档管理。

导出需要遵循以下规则:
-
日志数据一次最多导出 2w 行;超出 2w 行的部分不导出,只导出最新的前 2w 行数据。
-
对于超出限制的数据,您可以先进行筛选,分批次导出所有数据。
